Вернуться на главную

Вернуться   Форум Клуба Рено Дастер / Renault Duster Club > Общая информация > Бортовые журналы / Отзывы владельцев

Важная информация


Ответ
 
Опции темы Поиск в этой теме Опции просмотра
Старый 09.01.2013, 22:21   #1
dg972
Член клуба
Член клуба
 
Аватар для dg972
 
Имя: Дмитрий
Регистрация: 23.12.2012
Адрес: Москва
Авто: Privilege 4x4 2.0 МКП6. Чип АДАКТ. Коричневый орехх. 2012 гр.
Сообщений: 17,178
dg972 dg972 dg972 dg972 dg972 dg972 dg972 dg972 dg972 dg972 dg972
По умолчанию dg972 / Privilege 2.0 4x4 / Крепкий орешек.

FAQ


goto newpost


__________________________________________________ __________
.......................Оглавление БЖ.

Электрика
Нажмите здесь, чтобы увидеть весь текст
  1. Простая и быстрая переделка ПТФ в ДХО тут.
  2. Датчик уровня бачка омывателя.
  3. Светодиоды в приборке и ее питание для запуска теста.
  4. ЭСП без ключа зажигания.
  5. Блинкователь для стоп-сигналов.
  6. Освещение салона, начало - тут.
  7. Плафон освещения салона тройной.
  8. Плафон в задней двери - тут и тут.
  9. Дополнительное освещение салона.
  10. Фары. Типы ламп.
  11. Подсветка кнопок подогрева сидений.
  12. Датчик дождя и света Quantoom RLS-01 Начало.
  13. Датчик дождя и света Quantoom RLS-01 Продолжение.
  14. Датчик дождя и света Quantoom RLS-01 Окончание.
  15. Датчик дождя и света Quantoom RLS-01 Отзыв.
  16. Реле регулятор паузы стеклоочистителя 722.3777-01 тут и тут.
  17. Реле регуляторы паузы стеклоочистителей 722.3777-01 переднего и заднего дворников.
  18. Автофишки с Украины - тут.
  19. Дополнительные розетки.
  20. Немного про ТЭНы.
  21. Штатная аудиосистема и теги по-русски. Глюк тут.
  22. Батарейка для ключа ЦЗ.
  23. Дверь багажника с отдельной кнопки брелка.
  24. Пересвет кнопок ЭСП в белый.
  25. Освещение салона. Алгоритм работы.
  26. Камера заднего вида.
  27. Камера заднего вида. Отзыв.
  28. Дополнительная розетка прикуривателя для задних пассажиров и багажника.
  29. Ток покоя моего автомобиля.
  30. Напряжение на АКБ под нагрузкой на холостых
  31. Напряжение на АКБ. Новый замер.
  32. Камера заднего вида в подсветке номера. Покупка.
  33. Камера заднего вида в подсветке номера. Установка, Первые впечатления.
  34. Косяк камеры заднего вида.
  35. Контроллер стекоочистителей.
  36. ДХО без блока управления.
  37. Контроллер "перегоревшей лампы СС".
  38. Адаптер питания регистратора.
  39. ДХО в указателях поворота.
  40. Установка радиоантенны.
  41. Фара заднего хода.
  42. АКБ: уровень электролита.
  43. Вольтметр и мафон без ключа зажигания
  44. Термометр наружного воздуха.
  45. Ток подогревателя сидений.
  46. Доводчик стекол

__________________________________________________ __________

Доработки.


Эксплуатация.

Нажмите здесь, чтобы увидеть весь текст
  1. Летние шины и "покатушки" - тут.
  2. Зимние колеса.
  3. ТЭНы в печке.
  4. Масло в трансмиссии.
  5. Погнул ребро на пороге.
  6. Мойка рядом с домом. (((
  7. Передние тормозные колодки.
  8. Привет от Авантайма (колесные болты).
  9. Фильтр Тонкой Очистки салона (кондея).
  10. Про ЛЮЧОК бензобака и КОВРИК водительский.
  11. ТО-1 в Major Renault
  12. Свечи зажигания.
  13. 10000 км.
  14. Расход 95-го и ВОЗДУШНЫЙ ФТО.
  15. Понемногу обо всем - тут.
  16. Полный привод - система ЕТС.
  17. Когда "рулит" передний привод.
  18. Дастеру год.
  19. Запотевание крышки ГБЦ.
  20. Рейлинги.
  21. Гибридные щетки DENSO.
  22. Глючит насос омывателя.
  23. 15000 и ЧИП-ТЮНИНГ.
  24. 15000 и отчет.
  25. ЧИП-ТЮНИНГ от ADACT. Отзыв.
  26. Звук мотора 2.0 на холостых оборотах.
  27. Потек задний правый амортизатор.
  28. Пробег 16,800. 29 марта 14. Переобулся
  29. Центральный замок. Глюк.
  30. Гарантийный случай.
  31. ТО-2 в Major Renault.
  32. Гарантийный случай. Эпопея, часть 2.
    Гарантийный случай. Эпопея, часть 3.
    Гарантийный случай. Эпопея, часть 4.
  33. Страховка.
  34. Тип ЭБУ двигателем на моей машине.
  35. Масла в трансмиссии. Пробег 20200 26.06.14.
  36. Течь конденсата в салон. Пробег 23500.
  37. Регулировка фар.
  38. Скрип в "руле". Пробег 23500.
  39. Неделя в городе.
  40. Вторая неделя в городе.
  41. Третья неделя в городе. (расход петрольки)
  42. Четвертая неделя в городе.
  43. Сверчки.
  44. ТО - 2,5 в Логан Гараже.
  45. Звук мотора 2,0. Три съёмки вместе.
    Запотевание крышки ГБЦ.
  46. Месяц в городе.
  47. Пришла зима, третья зима для моего Дастера.
  48. Незамерзайка М-10.
  49. Второй месяц в городе.
  50. Расхоники для ТО-3.
  51. Глюк ЦЗ.
  52. Щетки СТОЧ RainBlade
  53. Пробег 30000.
    -
  54. Трещины ЛКП на швах водостока.
  55. Пробег 31000. ТО-3 и посещение Петровского ОД.
  56. Пробег 32000. ГУР.
  57. Обработка кузова полиролью.
  58. Пробег 35500. Замена воздушного ФТО.
  59. Пробег 35500. Замена ФТО кондиционера (салона).
  60. Пробег 36100. Переобулся на зиму.
  61. Передние тормоза. Пробег 36100.
  62. Щетки СТОЧ SPARCO.
  63. Пробег 41200. Переобулся на лето.
  64. Пробег 41500. 1/2 ТО-4
  65. Пробег 47500. ТО-4 продолжение. Замена ремня ГРМ.
  66. Приподнял педаль газа
  67. Пружины ФОБОС
  68. Осциллограф на муфте
  69. Пробег 48500. Замена ФТО мотора и салона.
  70. DF001 DF085, лампа системы снижения токсичности, сигнальная лампа неисправности, электронных систем и датчик ТОЖ.
  71. Пробег 50000.
  72. Пробег 50500. Замена масла.
  73. Пробег 51000, 4,5 года. Осмотр АКБ.
  74. Зима -24°С. Пробег 53700.
  75. Глюк указателя топлива.
  76. СВЕРЧКИ, дребезги и другие посторнние шумы.
  77. Переобулся на лето. 55200
  78. Замена передних тормозных колодок. 55200
  79. Стук в подвеске задних колес.55200
  80. Пробег 55555
  81. Пробег 57700. Замена свечей DENSO IK-20
  82. Белёсые подтеки на дверях.
  83. Пробег 58800. Замена масла.
  84. Пробег 59500. Замена фильтров и проставки в пружины.
  85. Пробег 60 000.
  86. Пробег 60800 и 5,3 года. Замена АКБ.
  87. Пробег 61000. Стук в передней подвеске
  88. Пробег 62000 зеркала, упоры, щетки и др.
  89. Пробег 63500.
  90. Пробег 64100. Ремонт Ходовой.
  91. Пробег 70200 Замена втулок переднего стабилизатора.
  92. Пробег 71000 Выхлопная труба и замена ДД ГУР.
  93. Пробег 72300 Переобулся на лето. Замена тормозных дисков и колодок
  94. Пробег 73100. Термостат. Замена.
  95. Пробег 76000. Замена масла в моторе.
  96. Пробег 81000. Замена масла в МКПП и раздатке.
  97. По умолчанию Комплект галогенных ламп MTF Light H7 12V 55W AURUM 3000K и Поляризованные очки.
  98. Пробег почти 83000. Переобулся на лето в Комфорсеры
  99. Пробег 84000. Замена свечей и колпачков.
  100. Замена основания штатной антенны.
  101. Пробег 88300. Замена воздушного фильтра.



__________________________________________________ __________
Разное.


ТТХ Дастера. Попробую тут собрать цифры, относящиеся к нашим машинам.

Шины Диски.
Заправочные жидкости.
Книга Renault Duster


Полезные ссылки.

Асферические зеркала с подогревом Ergon 76141000 Ergon 76141006

Кардан на ШРУСах


123456789Полезные ссылки.

Техобслуживание.
Он-лайн журнал RENAULT-DRIVE
Интересный сайт "Автосекрет"
  1. Каталог запчастей. HSMJ
  2. Очень много полезного от МЕДВЕЖа.
  3. Автоэлектроника от ЭНЕРГОМАШ.
  4. Светодиоды приборного щитка. Skipper-Влад
  5. Пересвет, или замена светодиодов в приборном щитке тут и тут от Skipper-Влад
  6. Подсветка кнопок ЭСП от SHultz
  7. Щетка заднего стеклоочистителя 350 мм. № 7701047871. Бурый медведь (Bear)
  8. Тормоза заднего моста. Респект Володе ХОЧУ за фото.
  9. Тормозные колодки передние.
  10. Веерные форсунки омывателя.
  11. Самостоятельное изготовление печатных плат. Skipper-Влад
  12. Блинкователь для стоп-сигналов от NSZ-550.
  13. Уплотнитель стекол дверей наружный, нижний, код запчасти.
  14. Подключение электропроводки фаркопа (схемы).
  15. Печка
  16. Освещение салона от Альберта
  17. Замена воздушного фильтра тут и тут от More.
  18. Накладки порогов декоративные.
  19. Тестовый режим приборной панели Skipper-Влад
  20. ТО-1 машины Skipper-Влад
  21. ТО -2 машины Кубика
  22. Жиклер омывателя Renault нового образца (три отверстия) оригинал (289321198R).
  23. Проклейка задней двери тут, тут и тут.
  24. Колесный калькулятор.
  25. ТТХ движков Дастера.
  26. Шашлык из свинины
  27. Глинтвейн по Масловски.
  28. Масло в ГУР.
  29. Задний редуктор/муфта фото.
  30. Принцип действия сцепной фрикционной многодисковой муфты с электромагнитным приводом.
  31. Колеса R15 zigzag
    ШТРАФЫ с 01.09.13.
  32. Деревянный пол в багажник 4х4 от NSZ-550
  33. Расположение предохранителей и реле
  34. DDT2000 Указатель поворота.
  35. Цитата:
    Сообщение от madmaxxx73 Посмотреть сообщение
    ТО-3 своими силами
  36. Клеммы Лира.
  37. Бортовик madmaxxx73. Много полезной инфы.
  38. Тормозные колодки More.
  39. Перестала работать КЗВ
  40. "Гарант" на руль.
  41. Пепельница с подсветкой.
__________________
"во время войны нельзя говорить плохо о своих, НИКОГДА" ©

Кто понял жизнь тот больше не спешит,
смакует каждый миг и наблюдает.

Мой бортовой журнал. Новое сообщение.
....

Последний раз редактировалось dg972; 24.11.2022 в 09:39.
dg972 вне форума   Вверх Ответить с цитированием
Это может быть интересно
Старый 17.01.2015, 22:25   #1461
YuriyVZ
Администратор
Член клуба
 
Аватар для YuriyVZ
 
Регистрация: 07.12.2012
Адрес: Санкт-Петербург
Авто: Duster 1.5 dci Тореадор + ADACT
Сообщений: 20,559
YuriyVZ YuriyVZ YuriyVZ YuriyVZ YuriyVZ YuriyVZ YuriyVZ YuriyVZ YuriyVZ YuriyVZ YuriyVZ
По умолчанию

В своей поездке на НГ только один раз видел кассу на заправке, все остальные автоматы, деньги не берут. Единственная проблема, которая иногда встречается, не всегда понятно, как чек получить. Думаю и у нас скоро так же будет
YuriyVZ вне форума   Вверх Ответить с цитированием
Это может быть интересно
Старый 17.01.2015, 22:28   #1462
YuriyVZ
Администратор
Член клуба
 
Аватар для YuriyVZ
 
Регистрация: 07.12.2012
Адрес: Санкт-Петербург
Авто: Duster 1.5 dci Тореадор + ADACT
Сообщений: 20,559
YuriyVZ YuriyVZ YuriyVZ YuriyVZ YuriyVZ YuriyVZ YuriyVZ YuriyVZ YuriyVZ YuriyVZ YuriyVZ
По умолчанию

Цитата:
Сообщение от maslovyu Посмотреть сообщение
dg972, на пересечении каширки и М4 около домодедово есть Лукойл.
при оплате по карте определенной суммы или литров, если вдруг до конца не заправился по какой-то причине ( не влезло или еще что) неизрасходованная часть бабла автоматом возвращается на карту. Не скажу, что прямо так сразу, но явно в течении минут..десятков минут.
Кстати, возврат на карту действует и на Лукойле с кассой. У нас есть одна дизельная колонка с предоплатой, однажды заправлялся там, ну и не расчитал, впихнуть не смог, в итоге повесил пистолет и деньги сразу вернулись на карту
YuriyVZ вне форума   Вверх Ответить с цитированием
Пользователь сказал cпасибо:
Старый 17.01.2015, 22:32   #1463
maslovyu
Администратор
Член клуба
 
Аватар для maslovyu
 
Регистрация: 05.01.2013
Адрес: Москва
Авто: Privilege 1.5 4х4
Сообщений: 20,021
maslovyu maslovyu maslovyu maslovyu maslovyu maslovyu maslovyu maslovyu maslovyu maslovyu maslovyu
По умолчанию

Да, я тоже имел ввиду заправку с кассой. Т.е. условно я оплатил 30 литров, залил 25. За незалитые 5литров вернулось на карту 150р. Ну я так, примерные суммы описал, чтобы суть понятна была
__________________
У меня можно приобрести клубную символику: Карты - в наличии; Рамки под номера: 11
Текстовые наклейки (белые/черные, маленькие/большие); Наклейки с логотипом (внешние и внутренние)
Есть в наличии: Мухобойки и ветровики; брызговики Дастер-Гард (передние - 1шт (Ф1/Ф2) и задние - 1шт (Ф1); щитки - 0шт; спойлер на зеркала - 0шт)
maslovyu вне форума   Вверх Ответить с цитированием
2 пользователя(ей) сказали cпасибо:
Старый 17.01.2015, 23:12   #1464
ktoto-zdes
Член клуба
Член клуба
 
Аватар для ktoto-zdes
 
Имя: Женя
Регистрация: 09.12.2012
Адрес: Москва, ВАО
Авто: 2,0 4х4
Сообщений: 15,358
ktoto-zdes ktoto-zdes ktoto-zdes ktoto-zdes ktoto-zdes ktoto-zdes ktoto-zdes ktoto-zdes ktoto-zdes ktoto-zdes ktoto-zdes
По умолчанию

А мене не везёт, я ещё так не попадал(((
ktoto-zdes вне форума   Вверх Ответить с цитированием
Старый 17.01.2015, 23:19   #1465
MTB
DaSterenok
Член клуба
 
Аватар для MTB
 
Имя: Татьяна
Регистрация: 17.03.2013
Адрес: г.Лобня МО
Авто: Renault Sandero Stepway 1,6 16 кл АКПП
Сообщений: 7,386
MTB MTB MTB MTB MTB MTB MTB MTB MTB MTB
Отправить сообщение для MTB с помощью ICQ
По умолчанию

Цитата:
Сообщение от maslovyu Посмотреть сообщение
dg972, на пересечении каширки и М4 около домодедово есть Лукойл.
при оплате по карте определенной суммы или литров, если вдруг до конца не заправился по какой-то причине ( не влезло или еще что) неизрасходованная часть бабла автоматом возвращается на карту. Не скажу, что прямо так сразу, но явно в течении минут..десятков минут.
подтверждаю. и не только в домодедово
__________________
"Не всегда мудрость приходит с возрастом, иногда возраст приходит один"
MTB вне форума   Вверх Ответить с цитированием
2 пользователя(ей) сказали cпасибо:
Старый 17.01.2015, 23:32   #1466
NSZ-550
Член клуба
Член клуба
 
Аватар для NSZ-550
 
Имя: Илья
Регистрация: 15.12.2012
Адрес: Санкт-Петербург
Авто: Privilege 2.0, 4x4, синий электра + чип и ДДУ от SVV, КК, самоблоки
Сообщений: 1,646
NSZ-550 NSZ-550 NSZ-550 NSZ-550 NSZ-550
По умолчанию

У нас в Питере много-много лет такие заправки существуют у Несте. Не часто туда заезжаю, но всякий раз, как впервые. Среди терминалов, видимо, тоже текучка кадров
__________________


БОРТОВИК
NSZ-550 вне форума   Вверх Ответить с цитированием
3 пользователя(ей) сказали cпасибо:
Старый 17.01.2015, 23:38   #1467
dg972
Член клуба
Член клуба
 
Аватар для dg972
 
Имя: Дмитрий
Регистрация: 23.12.2012
Адрес: Москва
Авто: Privilege 4x4 2.0 МКП6. Чип АДАКТ. Коричневый орехх. 2012 гр.
Сообщений: 17,178
dg972 dg972 dg972 dg972 dg972 dg972 dg972 dg972 dg972 dg972 dg972
По умолчанию

MTB, я по определенным причинам картами стараюсь не пользоваться. А на тех АЗС чьи карты принимают?
__________________
"во время войны нельзя говорить плохо о своих, НИКОГДА" ©

Кто понял жизнь тот больше не спешит,
смакует каждый миг и наблюдает.

Мой бортовой журнал. Новое сообщение.
....
dg972 вне форума   Вверх Ответить с цитированием
Старый 17.01.2015, 23:40   #1468
maslovyu
Администратор
Член клуба
 
Аватар для maslovyu
 
Регистрация: 05.01.2013
Адрес: Москва
Авто: Privilege 1.5 4х4
Сообщений: 20,021
maslovyu maslovyu maslovyu maslovyu maslovyu maslovyu maslovyu maslovyu maslovyu maslovyu maslovyu
По умолчанию

dg972, виза да и все остальное наверняка тоже
Т.е. как китайцы - возьмём ваши бабки любым способом
__________________
У меня можно приобрести клубную символику: Карты - в наличии; Рамки под номера: 11
Текстовые наклейки (белые/черные, маленькие/большие); Наклейки с логотипом (внешние и внутренние)
Есть в наличии: Мухобойки и ветровики; брызговики Дастер-Гард (передние - 1шт (Ф1/Ф2) и задние - 1шт (Ф1); щитки - 0шт; спойлер на зеркала - 0шт)
maslovyu вне форума   Вверх Ответить с цитированием
Пользователь сказал cпасибо:
Старый 17.01.2015, 23:40   #1469
MTB
DaSterenok
Член клуба
 
Аватар для MTB
 
Имя: Татьяна
Регистрация: 17.03.2013
Адрес: г.Лобня МО
Авто: Renault Sandero Stepway 1,6 16 кл АКПП
Сообщений: 7,386
MTB MTB MTB MTB MTB MTB MTB MTB MTB MTB
Отправить сообщение для MTB с помощью ICQ
По умолчанию

а я почти всегда без налички. карты сбер
__________________
"Не всегда мудрость приходит с возрастом, иногда возраст приходит один"
MTB вне форума   Вверх Ответить с цитированием
3 пользователя(ей) сказали cпасибо:
Старый 17.01.2015, 23:42   #1470
dg972
Член клуба
Член клуба
 
Аватар для dg972
 
Имя: Дмитрий
Регистрация: 23.12.2012
Адрес: Москва
Авто: Privilege 4x4 2.0 МКП6. Чип АДАКТ. Коричневый орехх. 2012 гр.
Сообщений: 17,178
dg972 dg972 dg972 dg972 dg972 dg972 dg972 dg972 dg972 dg972 dg972
По умолчанию

Мне показалось, что на той заправке только карты Газпром...
__________________
"во время войны нельзя говорить плохо о своих, НИКОГДА" ©

Кто понял жизнь тот больше не спешит,
смакует каждый миг и наблюдает.

Мой бортовой журнал. Новое сообщение.
....
dg972 вне форума   Вверх Ответить с цитированием
Старый 17.01.2015, 23:44   #1471
ktoto-zdes
Член клуба
Член клуба
 
Аватар для ktoto-zdes
 
Имя: Женя
Регистрация: 09.12.2012
Адрес: Москва, ВАО
Авто: 2,0 4х4
Сообщений: 15,358
ktoto-zdes ktoto-zdes ktoto-zdes ktoto-zdes ktoto-zdes ktoto-zdes ktoto-zdes ktoto-zdes ktoto-zdes ktoto-zdes ktoto-zdes
По умолчанию

Цитата:
Сообщение от MTB Посмотреть сообщение
а я почти всегда без налички.
аналогично, вааще налик не люблю - он быстро кончается(((
ktoto-zdes вне форума   Вверх Ответить с цитированием
Старый 18.01.2015, 00:00   #1472
dg972
Член клуба
Член клуба
 
Аватар для dg972
 
Имя: Дмитрий
Регистрация: 23.12.2012
Адрес: Москва
Авто: Privilege 4x4 2.0 МКП6. Чип АДАКТ. Коричневый орехх. 2012 гр.
Сообщений: 17,178
dg972 dg972 dg972 dg972 dg972 dg972 dg972 dg972 dg972 dg972 dg972
По умолчанию

Цитата:
Сообщение от ktoto-zdes Посмотреть сообщение
налик не люблю - он быстро кончается
Так низя!
__________________
"во время войны нельзя говорить плохо о своих, НИКОГДА" ©

Кто понял жизнь тот больше не спешит,
смакует каждый миг и наблюдает.

Мой бортовой журнал. Новое сообщение.
....
dg972 вне форума   Вверх Ответить с цитированием
Пользователь сказал cпасибо:
Старый 18.01.2015, 00:05   #1473
ktoto-zdes
Член клуба
Член клуба
 
Аватар для ktoto-zdes
 
Имя: Женя
Регистрация: 09.12.2012
Адрес: Москва, ВАО
Авто: 2,0 4х4
Сообщений: 15,358
ktoto-zdes ktoto-zdes ktoto-zdes ktoto-zdes ktoto-zdes ktoto-zdes ktoto-zdes ktoto-zdes ktoto-zdes ktoto-zdes ktoto-zdes
По умолчанию

Цитата:
Сообщение от dg972 Посмотреть сообщение
Так низя!
на карте максимум 3-4 тыщи. Остальное на счету. И шоб взять - надо комп инет и тд.
ktoto-zdes вне форума   Вверх Ответить с цитированием
2 пользователя(ей) сказали cпасибо:
Старый 18.01.2015, 00:29   #1474
YuriyVZ
Администратор
Член клуба
 
Аватар для YuriyVZ
 
Регистрация: 07.12.2012
Адрес: Санкт-Петербург
Авто: Duster 1.5 dci Тореадор + ADACT
Сообщений: 20,559
YuriyVZ YuriyVZ YuriyVZ YuriyVZ YuriyVZ YuriyVZ YuriyVZ YuriyVZ YuriyVZ YuriyVZ YuriyVZ
По умолчанию

Цитата:
Сообщение от NSZ-550 Посмотреть сообщение
У нас в Питере много-много лет такие заправки существуют у Несте. Не часто туда заезжаю, но всякий раз, как впервые. Среди терминалов, видимо, тоже текучка кадров
Знаю минимум 2 Лукойла-автомата, там и дешевле, но далеко от меня.

Цитата:
Сообщение от maslovyu Посмотреть сообщение
виза да и все остальное наверняка тоже
Ну, да у меня рублевая Мастеркарта, собственно и в кассе картой плачу, да и вообще наличностью пользуюсь крайне редко. Собственно, уже где-то писал, что карта с бонусами, в итоге бесплатная мобильная связь на всю семью.


Цитата:
Сообщение от dg972 Посмотреть сообщение
Мне показалось, что на той заправке только карты Газпром...
Если только топливные, а так обязаны все принимать.
YuriyVZ вне форума   Вверх Ответить с цитированием
Пользователь сказал cпасибо:
Старый 18.01.2015, 13:45   #1475
More
Супер-модератор
Член клуба
 
Аватар для More
 
Имя: Андрей
Регистрация: 14.12.2012
Адрес: В дебрях Смоленщины
Авто: НИВА Travel '22 "Барышня крестьянка" & ВАЗ-21061 '94 "Шура"
Сообщений: 33,270
More More More More More More More More More More More
По умолчанию

Цитата:
Сообщение от dg972 Посмотреть сообщение
Скучаю я, по Ниве. )
Вот тебе ещё бальзамчику на мозоль...)))

ps. обожаю Кавказ осенью...

__________________
За базаром не следит, говорит не правильно, шатает скрепы.(с)
Знание русского языка это не возможность, а привилегия.(с)
More на форуме   Вверх Ответить с цитированием
5 пользователя(ей) сказали cпасибо:
Старый 18.01.2015, 18:35   #1476
dg972
Член клуба
Член клуба
 
Аватар для dg972
 
Имя: Дмитрий
Регистрация: 23.12.2012
Адрес: Москва
Авто: Privilege 4x4 2.0 МКП6. Чип АДАКТ. Коричневый орехх. 2012 гр.
Сообщений: 17,178
dg972 dg972 dg972 dg972 dg972 dg972 dg972 dg972 dg972 dg972 dg972
По умолчанию

Цитата:
Сообщение от Бурый медведь (Bear) Посмотреть сообщение
dg972, Дим, щетку ALKA ты как ставил? Надписью вверх? Попробуй перевернуть.
Перевернул и помогло! Спасибо, Игорь.
__________________
"во время войны нельзя говорить плохо о своих, НИКОГДА" ©

Кто понял жизнь тот больше не спешит,
смакует каждый миг и наблюдает.

Мой бортовой журнал. Новое сообщение.
....
dg972 вне форума   Вверх Ответить с цитированием
2 пользователя(ей) сказали cпасибо:
Старый 26.01.2015, 19:13   #1477
dg972
Член клуба
Член клуба
 
Аватар для dg972
 
Имя: Дмитрий
Регистрация: 23.12.2012
Адрес: Москва
Авто: Privilege 4x4 2.0 МКП6. Чип АДАКТ. Коричневый орехх. 2012 гр.
Сообщений: 17,178
dg972 dg972 dg972 dg972 dg972 dg972 dg972 dg972 dg972 dg972 dg972
По умолчанию Незамерзайка М-10 и другие.

Цитата:
Сообщение от HKV Посмотреть сообщение
По дороге на мероприятие на Варшавке стояла газель, жижу продавала.
преобрели для опытов и показа 1шт. -30 за 150р. в итоге жижа "Вега" оказалась 16%, а значит до -10.. вот и показывали в чем разница наши 36% -30С* за 100р и дорожные 16% -10С* за 150
А у меня нехорошая мысль сразу закралась... Нет, то, что незамерзайка M-10 от наших партнеров, честная и при -30°С будет работать, не вызвало сомнений, сомнения были в "Веге"... ))) Ну неужели вся незамерзайка с трассы такое гуано?
На Клубной встрече была приобретена банка М-10, а дома в загашнике стояла, купленная перед Новым Годом, "Омега". С помощью бытового спиртового ареометра замерил "градусность" незамерзаек.

М-10:



Омега:


Фото не очень четкое, но показательное.



Ну и полтора литра Хай Гира на -50°:



Утонул, нафиг. )))

По ценам:
М-10 у партнеров Клуба - 100р. за 5л.
Омега в магазине - 130р. за 5л.
Хай Гир в магазине - 150р. 1,5л

Вывод напрашивается сам.
Миниатюры
Нажмите на изображение для увеличения
Название: 20150126_121854.jpg
Просмотров: 2465
Размер:	883.3 Кб
ID:	41405   Нажмите на изображение для увеличения
Название: 20150126_150033.jpg
Просмотров: 2984
Размер:	803.9 Кб
ID:	41406   Нажмите на изображение для увеличения
Название: 20150126_150054.jpg
Просмотров: 1628
Размер:	699.9 Кб
ID:	41407   Нажмите на изображение для увеличения
Название: 20150126_121207.jpg
Просмотров: 1620
Размер:	713.8 Кб
ID:	41408   Нажмите на изображение для увеличения
Название: 20150126_121226.jpg
Просмотров: 2538
Размер:	731.8 Кб
ID:	41409  

Нажмите на изображение для увеличения
Название: 20150126_121545.jpg
Просмотров: 2541
Размер:	787.2 Кб
ID:	41410  
__________________
"во время войны нельзя говорить плохо о своих, НИКОГДА" ©

Кто понял жизнь тот больше не спешит,
смакует каждый миг и наблюдает.

Мой бортовой журнал. Новое сообщение.
....
dg972 вне форума   Вверх Ответить с цитированием
Старый 26.01.2015, 22:24   #1478
Джити
Супер-модератор
Член клуба
 
Аватар для Джити
 
Имя: Тим
Регистрация: 19.12.2012
Адрес: Королёв
Авто: Duster 2.0 4x4 MT Privilege
Сообщений: 3,139
Джити Джити Джити Джити Джити Джити Джити Джити
По умолчанию

Цитата:
Сообщение от dg972 Посмотреть сообщение
Ну и полтора литра Хай Гира на -50°:

Утонул, нафиг. )))
А в стакане чистый концентрат из бутыли?
__________________
Джити вне форума   Вверх Ответить с цитированием
Старый 26.01.2015, 23:42   #1479
dg972
Член клуба
Член клуба
 
Аватар для dg972
 
Имя: Дмитрий
Регистрация: 23.12.2012
Адрес: Москва
Авто: Privilege 4x4 2.0 МКП6. Чип АДАКТ. Коричневый орехх. 2012 гр.
Сообщений: 17,178
dg972 dg972 dg972 dg972 dg972 dg972 dg972 dg972 dg972 dg972 dg972
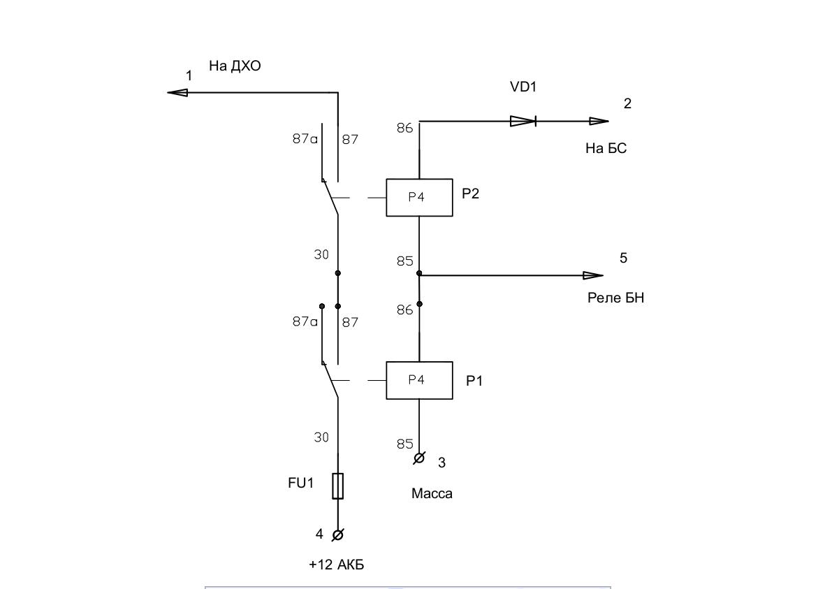
По умолчанию ДХО без блока управления.

Для Timmon, пожелавшего использовать дополнительные ДХО без электронного блока управления предлагаю простенькую схемку подключения. Тут нет возможности отключить ДХО из салона, нет возможности погасить ДХО подняв рычаг стояночного. Но она простая, а значит надежная. Почти такую же я юзаю уже третий год и никаких проблем она не создает.
При появлении напряжения на бензонасосе ДХО автоматически включаются и при включении фар БС отключаются. Единственное ограничение: одна из ламп ближнего света должна быть рабочей, если перегорят обе лампы - ДХО светиться не будут.
Нам надо два реле от Жигулей № 97.3747,
Клеммы для них 8 шт,
Клеммы кольцевые под болт 2шт,
Колодка для реле 2 шт,
Колодка для предохранителя и предохранитель 10 Ампер,
Выпрямительный диод, желательно по-мощнее, Амперa на 3 (можно больше), например: 1N5407, 1N5406 да и с запасиком по напряжению, вольт от двухсот и выше.
Термоусадка или изолента.
Провод сечением 0,75 - 1,5 кв.мм. (Зависит от мощности ДХО)

Отключаем минусовую клемму от АКБ.
Соединяем провода как показано на монтажной схеме.



Принципиальная схема.



Монтаж ведем с тем расчетом, что бы оба реле можно было разместить в блоке предохранителей под капотом.
Подключаем Массу (провод №3) под болт на металле или на прямую к минусовой клемме АКБ.
Подключаем провод №4 к плюсовой клемме АКБ через предохранитель.
Примерно так (на фото желтый провод):



Вынимаем реле бензонасоса и подключаем провод №5 к клемме в которую вставлен щуп. Просто зачищаем провод, вставляем в клемму и фиксируем его с помощью реле.



Провод с диодом (правильно подпаяй диод в схему. ток должен течь от реле) №2 подключаем к белому проводу в шлейфе, идущему к левой фаре. (На машинах с 13 года может быть два белых провода в шлейфе)



На фото стрелкой указан провод, к которому НЕ надо подключаться!

Проверяешь монтаж, что не ясно - звонишь.

Результат тут.
Миниатюры
Нажмите на изображение для увеличения
Название: Схема ДХО 2.jpg
Просмотров: 3581
Размер:	34.7 Кб
ID:	41429   Нажмите на изображение для увеличения
Название: Схема ДХО 1..jpg
Просмотров: 4008
Размер:	51.3 Кб
ID:	41430   Нажмите на изображение для увеличения
Название: 20150126_095108.jpg
Просмотров: 4487
Размер:	788.0 Кб
ID:	41431  
__________________
"во время войны нельзя говорить плохо о своих, НИКОГДА" ©

Кто понял жизнь тот больше не спешит,
смакует каждый миг и наблюдает.

Мой бортовой журнал. Новое сообщение.
....

Последний раз редактировалось dg972; 30.01.2015 в 20:52.
dg972 вне форума   Вверх Ответить с цитированием
6 пользователя(ей) сказали cпасибо:
Старый 26.01.2015, 23:43   #1480
dg972
Член клуба
Член клуба
 
Аватар для dg972
 
Имя: Дмитрий
Регистрация: 23.12.2012
Адрес: Москва
Авто: Privilege 4x4 2.0 МКП6. Чип АДАКТ. Коричневый орехх. 2012 гр.
Сообщений: 17,178
dg972 dg972 dg972 dg972 dg972 dg972 dg972 dg972 dg972 dg972 dg972
По умолчанию

Цитата:
Сообщение от Джити Посмотреть сообщение
А в стакане чистый концентрат из бутыли?
Конечно )))
__________________
"во время войны нельзя говорить плохо о своих, НИКОГДА" ©

Кто понял жизнь тот больше не спешит,
смакует каждый миг и наблюдает.

Мой бортовой журнал. Новое сообщение.
....
dg972 вне форума   Вверх Ответить с цитированием
Ответ

Метки
бортовой журнал, duster, омывателя, освещение, салона, фары, электрика, эсп, дастер, датчик, доработки


Ваши права в разделе
Вы не можете создавать новые темы
Вы не можете отвечать в темах
Вы не можете прикреплять вложения
Вы не можете редактировать свои сообщения

BB коды Вкл.
Смайлы Вкл.
[IMG] код Вкл.
HTML код Выкл.

Быстрый переход


Текущее время: 22:04. Часовой пояс GMT +3.
Powered by vBulletin® Version 3.8.7
Copyright ©2000 - 2025, vBulletin Solutions, Inc. Перевод: zCarot
vB.Sponsors

Яндекс.Метрика